科技媒体近日披露,宝马汽车获得一项创新专利,旨在解决车载大屏操作中的两大难题:盲操作困难与误触风险。该专利通过在屏幕边缘增设微型“触摸感应条”,为驾驶者提供物理定位辅助,重新定义了全触控交互的安全性与便利性。

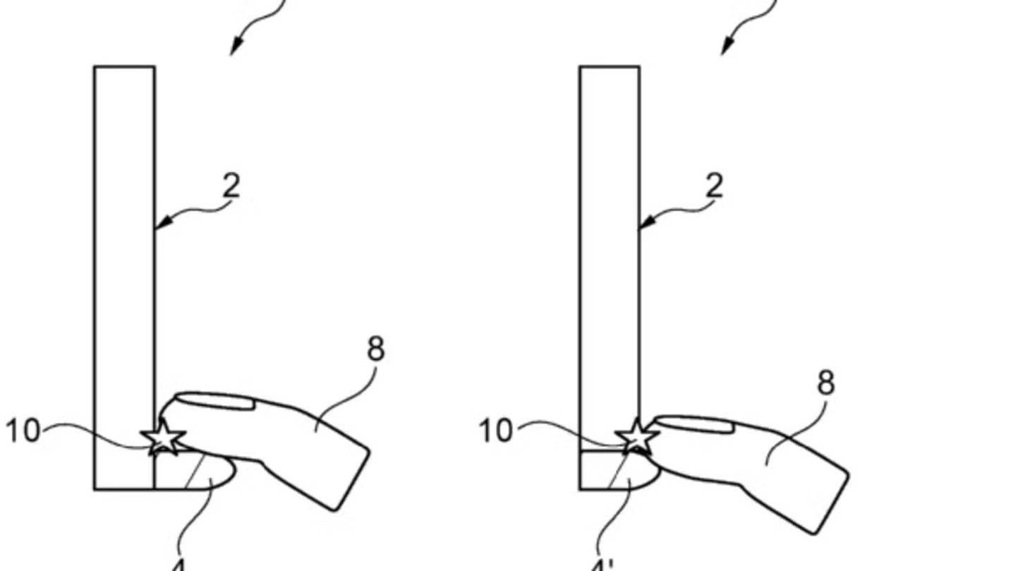
当前车载信息娱乐系统普遍采用全触控设计,虽功能集成度显著提升,却因缺乏物理反馈导致驾驶者需频繁转移视线确认操作。尤其在颠簸路面行驶时,手指晃动极易引发误触,成为行车安全的重要隐患。宝马此次专利突破传统设计思维,在屏幕底部或侧面嵌入仅数毫米厚的感应条,既不遮挡显示区域,又形成稳定的“手指支撑区”。
该感应条表面采用特殊凹槽设计,与屏幕虚拟按键形成空间映射关系。这种布局灵感源自传统机械按键的触觉记忆,用户通过指尖触感即可快速定位功能区域,无需持续注视屏幕。例如调整空调温度时,手指可沿感应条滑动至预设凹槽位置,系统随即识别对应指令。

为消除操作不确定性,专利还构建了多模态反馈系统。当手指触碰感应条完成指令输入时,系统会通过震动、音效与屏幕视觉提示三重确认。这种设计尤其适用于驾驶场景——震动反馈可让用户感知操作成功,避免因视觉分散导致的安全隐患。测试数据显示,该技术可使盲操作准确率提升至92%以上,同时减少60%的视线转移时间。
行业分析师指出,宝马此项专利精准把握了智能座舱发展的关键矛盾:如何在保持科技感的同时,确保基础交互的可靠性。随着车载屏幕尺寸持续扩大,物理定位辅助或将成为高端车型的标配解决方案。目前该技术已进入工程验证阶段,预计将在未来两年内实现量产应用。




