IT采购网4月12日消息,近日,美国商标和专利局(USPTO)公示的最新专利清单显示,苹果公司已成功申请一项关于圆柱形微机电系统(MEMS)音频组件的专利。此项专利技术未来有望被应用于iPad、iPhone、MacBook 以及 AirPods 等苹果全线产品中。

随着数码产品不断追求轻薄短小,如何在有限的体积内提供高品质的音频体验,已成为行业面临的一大挑战。用户对于音频质量的要求日益提升,而高质量的音频通常要求更大的扬声器元件,这无疑增加了设计的难度。



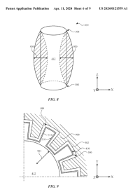
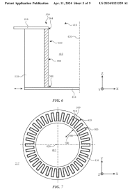
据IT采购网了解,苹果在这项新专利中,探索了一种独特的圆柱形波纹 MEMS 结构。该结构特点在于其开放式的圆柱形磁芯,能够与 MEMS扬声器实现流体耦合,并被巧妙地安装在扬声器的前后音量之间。在电压作用下,圆柱形 MEMS结构能够发生形变,使得其上下固定边缘产生弯曲。这些边缘被密封固定在上下基板上,以产生声音,并有效防止空气从边缘泄露,从而保证了音频的清晰度和响度。




