IT采购网8月4日消息,根据世界知识产权组织(WIPO)今年5月公示的技术专利,微软计划对HoloLens头显进行全面改进,以进一步降低其成本,暗示该公司有意进军消费级市场。

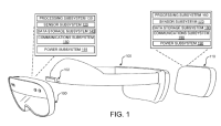
目前,微软推出的HoloLens解决方案主要面向企业用户,并且在军事领域为美国陆军开发了IVAS(军事版HoloLens),一直未向普通用户开放购买渠道。然而,根据最新公布的专利设计草图显示,微软希望通过模块化设计,对HoloLens头显进行彻底改造。草图中的头显组件可以轻松拆卸,包括头带、VR头显和眼镜镜腿,模块化传感器和显示模块都能够通过标准接口连接,这将有助于降低头显的制造成本。

据IT采购网了解,在这项技术专利的公示中,微软明确表达了将HoloLens推向消费级市场的意图。通过模块化设计,用户可以更方便地替换和升级头显的组件,还能够根据个人需求连接计算模块、额外电源等其他模块单元,为用户带来更加个性化的使用体验。

虽然目前该技术专利的公示只是微软计划的一部分,但这一举措表明微软正在积极探索拓展HoloLens的市场应用领域。一旦这些改进和优化得以实现,HoloLens可能更加贴近普通消费者,为消费级市场带来全新的增强现实体验。




